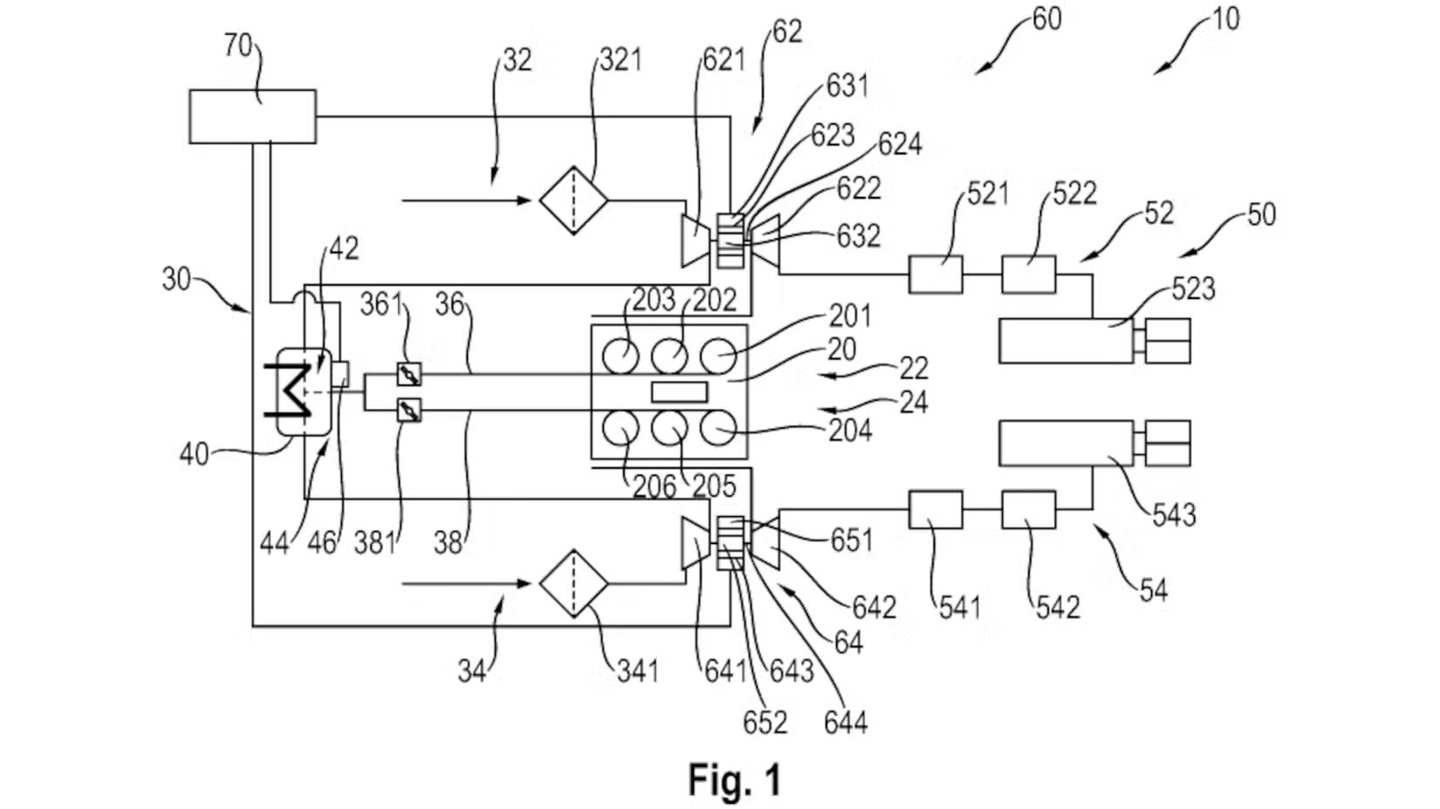
10月13日,保时捷宣布获得一项新专利,该专利涉及一种混合动力双涡轮增压系统,旨在解决传统双涡轮增压发动机中的“气流失速”问题。这一技术难题会导致空气反向流动,影响发动机性能和驾驶体验。保时捷的新系统通过在每个涡轮增压器内部集成小型电机来解决这一问题,能够在检测到压力异常下降时迅速启动电机,主动加速涡轮至正常运行速度,独立补偿失速现象,确保发动机扭矩输出平稳连贯。
该系统的工作原理是利用进气歧管的空气质量流量传感器实时监测进气压力,一旦检测到气流失速导致的压力下降,系统会与涡轮的速度传感器数据比对,确认失速后立即启动电机加速涡轮。此外,该专利还包括冗余验证机制,通过监测两个电动涡轮的功率来验证它们是否同步运行,为防止进气流中断提供双重保障。这项技术的应用有望显著提升双涡轮增压发动机的性能和可靠性。


